L'uscita è ancora lontana, ma ormai la Nintendo è già proiettata verso il futuro e, ovviamente, i rumor intorno al Nintendo NX non si sono fatti aspettare, con le prime indiscrezioni legate ad un brevetto per home console depositato dalla Nintendo, che potrebbe essere, ma non vi sono certezze, l'NX.

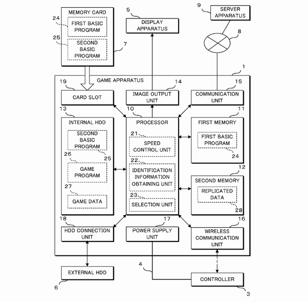
Dall'immagine si desume subito una cosa, ovvero l'assenza del lettore ottico, ed inoltre leggendo la descrizione del brevetto emerge come il pad abbia una display autonomo sullo stile del Wii U.
Che sia questa la strada scelta da Nintendo? Non resta che aspettare, ma l'idea di rimuovere il lettore ottico non è del tutto nuova, ed invero anche la Microsoft aveva valutato proprio tale opzione per l'Xbox One.
Fonte consultata:
Eurogamer

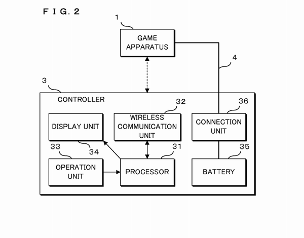
Dall'immagine si desume subito una cosa, ovvero l'assenza del lettore ottico, ed inoltre leggendo la descrizione del brevetto emerge come il pad abbia una display autonomo sullo stile del Wii U.
Che sia questa la strada scelta da Nintendo? Non resta che aspettare, ma l'idea di rimuovere il lettore ottico non è del tutto nuova, ed invero anche la Microsoft aveva valutato proprio tale opzione per l'Xbox One.

Fonte consultata:
Eurogamer
Tra cartucce e digitale, scelgo decisamente le cartucce. Mi auguro solamente che l'hard disc interno sia superiore a quello della WII U Premium (32 GB).....
Il Wii U non ha un Hard Disk, ma della memoria direttamente saldate sulla scheda madre.
Il fatto che l'HDD sia menzionato fa supporre che hanno finalmente deciso di mettersi al passo coi tempi. E che non sarà una console ibrida (hai voglia a portartela dietro con un HD da 2.5).
Mi sa che avrà un design simile a PS4, nel senso che avrà l'alimentatore integrato.
@Horus: A mio avviso, anche una console unicamente con titoli digitali non sarebbe una mossa saggia (la PSP Go ne è stata un esempio, anche se è uscita in altri tempi, quando i giochi digitali non avevano ancora preso piede come negli ultimi anni).
Per il resto in pratica si sa ben poco, se il lettore non viene usato come lettore BR o DVD, che ci sia o meno è indifferente, se il supporto è comunque ampio e facile da supportare.
Ciao!
Tacchan
Ormai i supporti a schede di memoria costano molto meno che in passato, e non credo che ci sia tanta differenza dai supporti ottici (che per giunta stanno tramontando), anche se immagino che qualche differenza ci sia.
Comunque mi sa che la tua seconda ipotesi sia molto probabile: io mi aspetterei un "NXDS" a ridosso della presentazione di NX, in modo da integrare cross-buy o addirittura giochi con sezioni mobile e sezioni home.
Devi eseguire l'accesso per lasciare un commento.