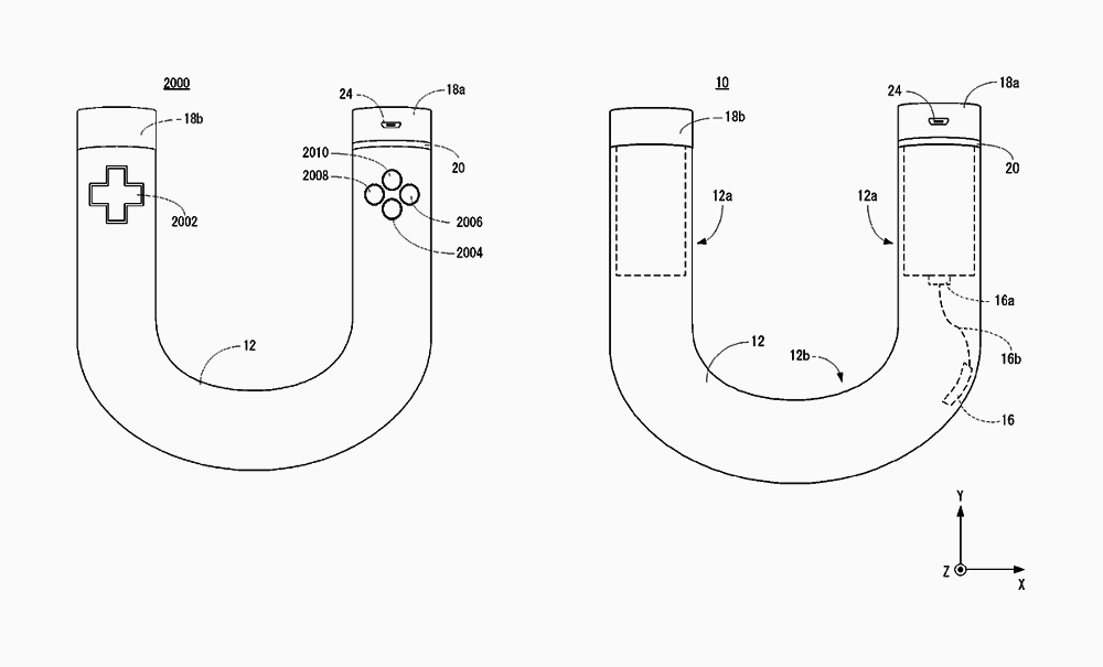
Il 16 ottobre 2014 Nintendo aveva depositato un brevetto per un nuovo controller, reso pubblico dalla World Intellectual Property Organization. Riconfermato il 18 settembre 2015, pare che questo controller serva per svolgere esercizi di attività fisica, come suggeriscono le immagini dei brevetti che hanno cominciato a circolare in rete in questi giorni.

Nintendo aveva affermato tempo addietro di essere interessata al mercato del fitness, così come confermano i giochi della serie Wii Fit. Che sia in sviluppo un qualche hardware e software specifico slegato dal mondo videoludico? Oppure questo controller potrebbe essere un accessorio per un nuovo Wii Fit per WiiU o NX, così come fu la Wii Balance Board? Forse all'E3 di giugno ne sapremo qualcosa in più...
Fonte consultata:
NeoGaf

Nintendo aveva affermato tempo addietro di essere interessata al mercato del fitness, così come confermano i giochi della serie Wii Fit. Che sia in sviluppo un qualche hardware e software specifico slegato dal mondo videoludico? Oppure questo controller potrebbe essere un accessorio per un nuovo Wii Fit per WiiU o NX, così come fu la Wii Balance Board? Forse all'E3 di giugno ne sapremo qualcosa in più...
Fonte consultata:
NeoGaf














Spero proprio non sia quello di NX...
Comunque prevedo rivolte di fan se all'E3 presentano questo e non NX
Devi eseguire l'accesso per lasciare un commento.